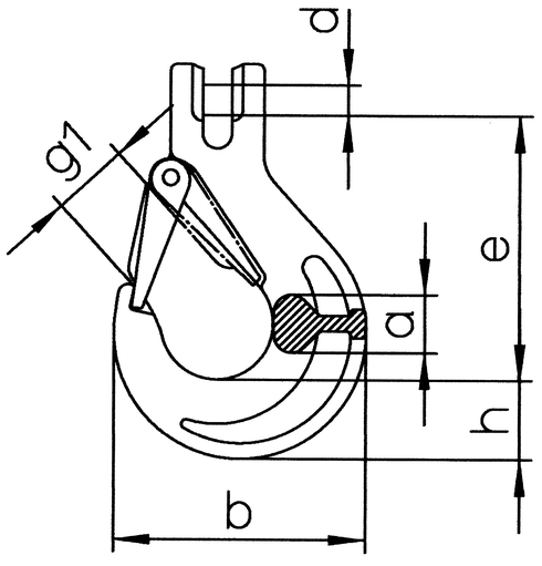
Clevis Sling Hook with Forged Safety Latch HKS/SUN

General: General purpose hook.

Show more

Part code:

General: General purpose hook.

  • Marking: According to standard
  • Temperature range: -40 ºC up to 200 ºC
  • Standard: EN 1677-3
  • Safety factor: 4:1
  • Grade: 12