Ogniwo łączące Typ C POWERTEX

Ogniwo łączące typ C POWERTEX jest częścią gamy komponentów łańcuchowych zawiesi podnoszących Powertex G100. Jest to szybki i ekonomiczny element do montażu zawiesi łańcuchowych. Sprężyna blokująca jest zamknięta w stalowej tulei ochronnej.

Dostępne dla łańcuchów od 6mm do 32mm i od DOR 1,4t

Pokaż więcej

Indeks produktu:
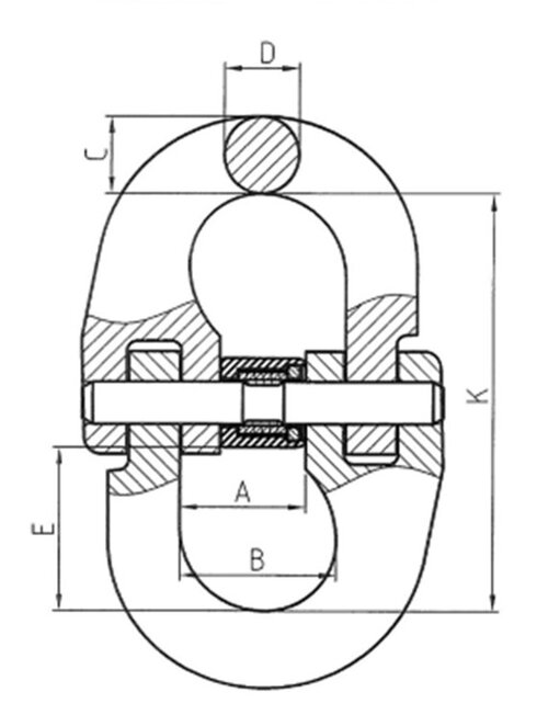
Ogniwo łączące typ C POWERTEX jest częścią gamy komponentów łańcuchowych zawiesi podnoszących Powertex G100. Jest to szybki i ekonomiczny element do montażu zawiesi łańcuchowych. Sprężyna blokująca jest zamknięta w stalowej tulei ochronnej.

Dostępne dla łańcuchów od 6mm do 32mm i od DOR 1,4t do DOR 40t.

Zalety serii produktów Powertex G100:
  • o 25% wyższa wydajność w porównaniu do tradycyjnych komponentów klasy 8,
  • wszystkie komponenty POWERTEX G100 są malowane proszkowo na jaskrawy czerwony kolor,
  • wielofunkcyjne ogniwa główne i komponenty są dostępne w asortymencie od ręki, aby umożliwić szybki i ekonomiczny montaż zawiesi łańcuchowych,
  • komponenty spełniają wymagania normy EN 1677 część 1/2/3/4 +25% DOR,
  • każdy kuty element jest testowany pod kątem wykrywania pęknięć, a próbki są testowane pod obciążeniem próbnym,
  • każdy komponent jest testowany w fabryce i poddawany ocenie zmęczeniowej do 20 000 cykli przy 1,5-krotności dopuszczalnego obciążenia roboczego,
  • pełna identyfikowalność dzięki numerowi partii,
  • postępne zamienne części zamienne,
  • wszystkie komponenty są wolne od chromu 6,
  • certyfikat POWERTEX 2.2 dołączony do każdego opakowania komponentów,
  • komponenty mogą być również używane z łańcuchem klasy 8 zgodnie z normą EN 818-2. W takim przypadku zawiesie łańcuchowe musi być klasy 8 zgodnie z normą EN 818-4.
  • Znakowanie: zgodnie z normą, POWERTEX + Model (C-6-10) + kod identyfikacji
  • Zakres temperatur: -40°C do +200°C bez zmniejszenia DOR
  • Zakończenie: Malowane proszkowo w kolorze jaskrawej czerwieni
  • standard: AS 3776
  • standard: EN 1677-1
    (+ 25% WLL)
  • Współczynnik bezpieczeństwa: 4:1
  • Klasa: 10