Unsupported Browser - Some functions may be limited in this browser. For full functionality use a recent version of major browser like Chrome, Firefox, Safari, and Edge.
certex-pl
Szukaj
  • Lifting Solution Group
  • Skontaktuj się z nami
  • Zapytanie
  • Lifting Solution Group
  • Skontaktuj się z nami
  • Zapytanie
    menu
  • Nasze produkty
    • Zobacz wszystkie Nasze produkty
    • Zawiesia linowe, liny stalowe i akcesoria
      • Zawiesia linowe, liny stalowe i akcesoria
      • Liny stalowe
        • Liny stalowe
        • Liny specjalistyczne
        • Liny nieodkrętne
        • Liny ogólnego przeznaczenia
        • Liny do wyciągów narciarskich
        • Liny ze stali nierdzewnej
      • Zawiesia z lin stalowych
      • Akcesoria do lin stalowych
        • Akcesoria do lin stalowych
        • Klipsy i zaciski do lin
        • Akcesoria do lin
        • Terminale do lin stalowych
        • Sockety - złącza klinowe i akcesoria
        • Ściągacze śrubowe i krętliki
        • Kausze
        • Uchwyty kablowe i zaciski do przeciągania
        • Asortyment do prefabrykatów betonowych / STARCON
      • Produkty uzupełniające do lin stalowych
        • Produkty uzupełniające do lin stalowych
        • Zblocza linowe oraz bloczki
        • Smary do lin
      • Zabezpieczenia przed zużyciem
    • Zawiesia łańcuchowe, łańcuchy oraz komponenty
      • Zawiesia łańcuchowe, łańcuchy oraz komponenty
      • Zawiesia łańcuchowe
        • Zawiesia łańcuchowe
        • Zawiesia klasa 8
        • Zawiesia klasa 10
      • Komponenty do zawiesi
        • Komponenty do zawiesi
        • Klasa 12
        • Klasa 10
        • Klasa 8
      • Łańcuchy do podnoszenia
      • Osprzęt do podnoszenia
        • Osprzęt do podnoszenia
        • Punkty do podnoszenia
        • Ściągacze rurowe i krętliki
        • Szakle
      • Zabezpieczenia przed zużyciem
    • Zawiesia tekstylne
      Artykuły

      Rodzaje zawiesi tekstylnych

      Kodowanie kolorystyczne zawiesi tekstylnych

      Zastosowanie zawiesi tekstylnych

      Kryteria utylizacji zawiesi tekstylnych

      Rękawy ochronne

      • Zawiesia tekstylne
      • Zawiesia tekstylne
        • Zawiesia tekstylne
        • Zawiesia pasowe
        • Zawiesia wężowe
        • Zawiesia specjalne
      • Rękawy ochronne
    • Urządzenia oraz osprzęt do podnoszenia
      • Urządzenia oraz osprzęt do podnoszenia
      • Wciągniki łańcuchowe
        • Wciągniki łańcuchowe
        • Wciągniki ręczne łańcuchowe
        • Wciągniki dźwigniowe
        • Wciągniki pneumatyczne
        • Wciągniki elektryczne
      • Wciągniki i przeciągarki linowe
      • Wózki jezdne
        • Wózki jezdne
        • Wózki pchane
        • Wózki napędzane łańcuchem
        • Wózki elektryczne
      • Narzędzia i podnośniki hydrauliczne
        • Narzędzia i podnośniki hydrauliczne
        • Podnośniki kolejowe - mechaniczne
        • Podnośniki butelkowe
        • Podnośniki hydrauliczne słupkowe
        • Lewarki podłogowe oraz do ciężarówek
      • Ochrona przed upadkiem / praca na wysokości
      • Uchwyty do podnoszenia
        • Uchwyty do podnoszenia
        • do podnoszenia w pionie
        • Uchwyty magnetyczne
        • do podnoszenia w poziomie
        • do podnoszenia w pionie i poziomie
        • do belek
        • do podnoszenia beczek i bębnów
    • Akcesoria do dźwigów i wózków widłowych
      • Akcesoria do dźwigów i wózków widłowych
      • Trawersy oraz rozpornice
        • Trawersy oraz rozpornice
        • Trawersy belkowe
        • Trawersy typu H
        • Trawersa ramowa
        • Trawersy rozporowe - rozpornice
      • Akcesoria do żurawi
      • Akcesoria do wózków paletowych
    • Zabezpieczanie transportu oraz bezpieczeństwo
      • Zabezpieczanie transportu oraz bezpieczeństwo
      • Systemy mocujące
        • Systemy mocujące
        • Pasy mocujące
        • Systemy one-way oraz pakowanie
        • Łańcuchy mocujące
      • Systemy kontenerowe
        • Systemy kontenerowe
        • Poduszki sztauerskie i akcesoria
        • Ochrona przed wilgocią
        • Plomby do kontenerów
      • Akcesoria dodatkowe
        • Akcesoria dodatkowe
        • Ochrona ładunku
        • Liny holownicze
        • Punkty mocujące
        • Belki i drążki transportowe
        • Pozostałe akcesoria
    • Systemy hydrauliczne
      • Systemy hydrauliczne
      • Cylindry hydrauliczne
      • Narzędzia podnoszące
        • Narzędzia podnoszące
        • Narzędzia hydrauliczne
        • Narzędzia mechaniczne
      • Pompy hydrauliczne
      • Komponenty hydrauliczne
    • Marki
      • Marki
      • Verope
      • WIMAG
        WIMAG
      • GANTERUD
        GANTERUD
      • Ropetex
      • Extreema® Soft Slings
      • Walmag Magnetics
      • Gebuwin
      • BRIDON
      • RUD
      • Liftket
      • KWB
      • Wirelock
      • Powertex
      • Talurit ®
      • Red Rooster
      • Nemag
      • Kratos Safety
      • Kito
      • JDT
      • Holmatro
      • Crosby
      • Blue Wave
      • Yoke
      • Terrier
    • Aspire Range™
      Artykuły

      Co oznacza Aspire Range™?

      R-PET - co to właściwie jest?

      • Aspire Range™
    • Linia produktów Blackline
      • Linia produktów Blackline
  • Poznaj Certex!
    • Poznaj Certex!
    • Dlaczego Certex?
    • Grupa Lifting Solution
    • Zrównoważony rozwój
      • Zrównoważony rozwój
      • Zrównoważony łańcuch dostaw
      • Zrównoważone operacje
      • Zrównoważona oferta
      • Ślad węglowy produktu
    • Certyfikaty
    • Polityka Jakości i BHP
    • Ogólne warunki zakupów
    • News
  • Marki
    • Marki
    • BlueWave
    • Bridon-Bekaert
    • Crosby
    • Extreema®
    • Ganterud
    • Gebuwin
    • Holmatro
      • Holmatro
      • Przemysł stoczniowy
      • Rozwiązania dla utrzymania ruchu
      • Branża konstrukcji stalowych
      • Inżynieria lądowa
    • JDT
    • KITO
      • KITO
      • KITO - Rozwiązania dla branży
      • Branża turbin wiatrowych
      • Branża konstrukcji lini wysokiego napięcia
      • Branża spożywcza i farmaceutyczna - KITO
      • Rozwiązania specjalne i indywidualne
    • KRATOS
    • KWB
    • Liftket
    • Nemag
    • Niupack
    • Powertex
      • Powertex
      • Powertex-Ropetex
      • Zrównoważony rozwój
      • Nasza wartość dodana
      • Bezpieczeństwo i zgodność
    • RED ROOSTER
    • ROPEBLOCK
    • Ropetex
      • Ropetex
      • Odkryj
      • Ekonomiczne i niezawodne produkty
      • Zrównoważone i etyczne praktyki
      • Jakość i bezpieczeństwo, którym możesz zaufać
      • Eksperckie wsparcie i doradztwo
    • RUD
    • TALURIT®
    • TERRIER
    • Teufelberger
    • Verope
    • Walmag
    • Wimag
    • Wirelock
    • YOKE
  • Kontakt
    • Kontakt
    • Oddział Szczecin
    • Oddział Włocławek
    • Oddział Gdynia
    • Oddział Płowdiw
    • Oddział Warszawa
    • Oddział Katowice
    • Oddział Mielec
    • Oddział Poznań
    • Showroom
  • Katalog PDF
  • Lifting Know How
    • Lifting Know How
    • Zawiesia tekstylne
      • Zawiesia tekstylne
      • Zastosowanie zawiesi
      • Aspire Range™
      • Rodzaje zawiesi tekstylnych
      • Kodowanie kolorystyczne zawiesi
      • Kryteria utylizacji zawiesi tekstylnych
      • Co to jest Dyneema®?
      • Rękawy ochronne
    • Liny stalowe
      • Liny stalowe
      • Opis techniczny liny stalowej
      • Rodzaje lin stalowych
      • Kryteria utylizacji
      • Konserwacja i inspekcja liny stalowej
      • Bezpieczeństwo i higiena pracy z liną stalową
      • Jak dobrać linę stalową do konkretnego urządzenia?
      • Rodzaje zakończeń lin stalowych
      • Średnica i tolerancja liny stalowej
    • Zawiesia łańcuchowe
      • Zawiesia łańcuchowe
      • Czym są zawiesia łańcuchowe i do czego służą?
      • Rodzaje zawiesi łańcuchowych
      • Bezpieczeństwo i użytkowanie zawiesi łańcuchowych
      • Komponenty i akcesoria
      • Dobór i konfiguracja zawiesi łańcuchowych
      • Kryteria odrzucenia zawiesia łańcuchowego
    • Kalkulatory do podnoszenia
      • Kalkulatory do podnoszenia
      • Kalkulator naprężenia zawiesi
      • Kalkulator długości zawiesia
      • Kalkulator doboru rozmiaru szakli
      • Kalkulator środka ciężkości
  • Serwis i usługi
    • Serwis i usługi
    • Certmax
    • Szkolenia
    • Wynajem
    • Serwis
  • Kariera
Polski Angielski Rosyjski Ukraiński
Dodano do zapytania
Podsumowanie
Strona główna / Nasze produkty / Zawiesia łańcuchowe, łańcuchy oraz komponenty / Komponenty do zawiesi / Klasa 10

Opis

Pobieranie pliku CAD...
Drawing
Pobierz projekt
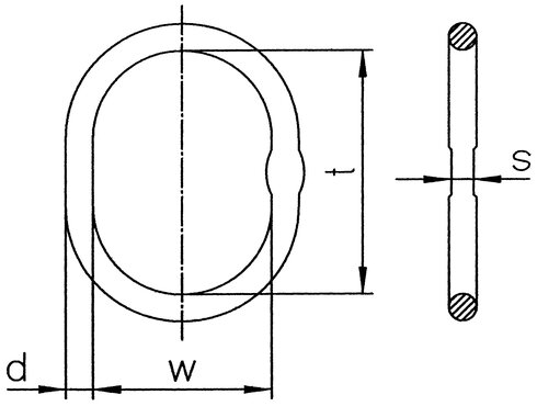
Dane techniczne
Ogniwo główne typ T/S klasa 10

Warehouse Availability

Ogniwo główne typ T/S klasa 10

Ogniwo główne typ T/S klasa 10
Ogniwo główne typ T/S klasa 10
Ogniwo główne typ T/S klasa 10
Ogniwo główne typ T/S klasa 10
E-mail Pobierz PDF

UWAGA! Nie stosować w środowisku obróbki cieplnej

Pokaż więcej

Pokaż więcej wariantów

Indeks produktu:
Copied!

Filters & subcategories

pokaż wyniki

Filtry

Więcej filtrów

UWAGA! Nie stosować w środowisku obróbki cieplnej

  • Materiał: Stal stopowa – gatunek: 10.
  • Znakowanie: Kod raz Klasa.
  • Zakończenie: Lakierowany
  • Współczynnik bezpieczeństwa: 4:1
  • Klasa: 10

Produkty powiązane

Ogniwo główne z hakami skracającymi Typ GTVK/S1 Klasa 10

Ogniwo główne z hakami skracającymi Typ GTVK/S1 Klasa 10

Pokaż produkt
Ogniwo zbiorcze z skracaniem Typ GTVK/S4 Klasa 10

Ogniwo zbiorcze z skracaniem Typ GTVK/S4 Klasa 10

Pokaż produkt
Ogniwo zbiorcze typ GT/S klasa 10

Ogniwo zbiorcze typ GT/S klasa 10

Pokaż produkt
Ogniwo zbiorcze powiększone typ GL/S-2 klasa 10

Ogniwo zbiorcze powiększone typ GL/S-2 klasa 10

Pokaż produkt
Ogniwo główne typ A/S klasa 10

Ogniwo główne typ A/S klasa 10

Pokaż produkt
Hak bezpieczny widełkowy typ HKSB/S klasa 10

Hak bezpieczny widełkowy typ HKSB/S klasa 10

Pokaż produkt
Hak bezpieczny obrotowy typ WSB/S Klasa 10 - krętlik

Hak bezpieczny obrotowy typ WSB/S Klasa 10 - krętlik

Pokaż produkt
Hak bezpieczny oczkowy typ  HSB/S klasa 10

Hak bezpieczny oczkowy typ HSB/S klasa 10

Pokaż produkt
Hak oczkowy z zabezpieczeniem typ HS-S klasa 10

Hak oczkowy z zabezpieczeniem typ HS-S klasa 10

Pokaż produkt
Hak skracający z uchem oraz pinem PS/S klasa 10

Hak skracający z uchem oraz pinem PS/S klasa 10

Pokaż produkt
CERTEX Polska -Twój dostawca rozwiązań w urządzeniach dźwigowych
Kontakt

Certex Polska

  • Produkty
  • Oferowane marki
  • O nas
  • Ogólne warunki sprzedaży

Produkty

  • Liny stalowe
  • Łańcuchy i komponenty
  • Zawiesia tekstylne
  • Osprzęt i urządzenia do podnoszenia
  • Hydraulika siłowa
  • Akcesoria do dźwigów i wózków paletowych
  • Mocowanie ładunków

Kontakt

Adres siedziby
Certex Polska Sp. z o.o.
ul. Lubczyńska 6c
70-895 Szczecin
info@certex.pl
  • LinkedIn
  • YouTube

O Certex Polska

130 lat doświadczenia sprawia, że o grupie CERTEX słyszał każdy, kto profesjonalnie zajmuje się techniką podnoszenia. W każdym obszarze w tej dziedzinie CERTEX proponuje rozwiązania o wysokiej kulturze technicznej, wsparte doradztwem technicznym, z troską o bezpieczeństwo zarówno ludzi, jak i środowiska.
CERTEX Polska powstał w 2019 roku, jednak tworzą go ludzie z potężnym zapasem doświadczenia.