Punkt do podnoszenia TAPG/TAPG-S

Ucha mogą być obciążane z limitem obciążenia roboczego we wszystkich kierunkach. Wszystkie oczka są obrotowe, aby uniknąć pęknięć w oczkach, co pozwala również na złożenie go na bok, gdy nie jest używany.

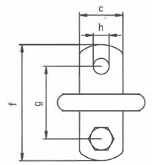
Model TAPG: Podnoszony pierścień D-Ring i mostek - bez śrub.
Model TAPG-S: pierścień D, m

Pokaż więcej

Indeks produktu:

Ucha mogą być obciążane z limitem obciążenia roboczego we wszystkich kierunkach. Wszystkie oczka są obrotowe, aby uniknąć pęknięć w oczkach, co pozwala również na złożenie go na bok, gdy nie jest używany.

Model TAPG: Podnoszony pierścień D-Ring i mostek - bez śrub.
Model TAPG-S: pierścień D, mostek i 2 śruby 8.8 EN 24014 (DIN 931) 

 
Punkt zaczepienia, mocowanie śrubowe, w roboczych
w zakresie obciążeń roboczych 3 - 8 t.

Właściwości:
- Kompaktowa budowa.
- Czterokrotne zabezpieczenie przed złamaniem
- Zakres roboczy 120°.
- Płyta przykręcana służy również jako szablon do oznaczania

D-link musi mieć możliwość swobodnego poruszania się. Nie może on być oparty na krawędziach lub na punkcie zawiesia.

  • Materiał: Ucho ze stali stopowej.
  • Znakowanie: oznaczenie CE, UKCA-marked, DOR
  • Dodatkowa informacja: Powierzchnia, do której przymocowane są ucha do podnoszenia, powinna być płaska i wytrzymywać obciążenie, na jakie będzie wystawiona.
  • Uwaga: Można stosować wyłącznie śruby o klasie wytrzymałości co najmniej 8,8 EN 24014 (DIN 931)
  • Współczynnik bezpieczeństwa: 4:1