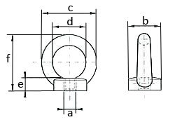
Nakrętka z uchem do podnoszenia z stali nierdzewnej DIN 582

Nakrętka z stali nierdzewnej do podnoszenia pionowego.

Pokaż więcej

Indeks produktu:

Nakrętka z stali nierdzewnej do podnoszenia pionowego.

  • Materiał: AISI 316
  • Znakowanie: zgodnie z normą, oznaczenie CE
  • Zakres temperatur: -40 - (+)400°C
  • Zakończenie: Wypolerowane
  • standard: DIN 582
  • Dodatkowa informacja: Tylko do podnoszenia w pionie.
  • Współczynnik bezpieczeństwa: 4:1

LIMITY OBCIĄŻENIA ROBOCZEGO

  Load 1 Load 6 Load 2 Load 5  
Load 3
Load 3 Load 4 Load 4
Rozmiar DOR (t) DOR (t) DOR (t) DOR (t) DOR (t) DOR (t) DOR (t) DOR (t)
          0 - 45° 45-60° 0 - 45° 45-60°
M6 0,08 niedozwolony 0,16 niedozwolony - niedozwolony - niedozwolony
M8 0,14 niedozwolony 0,28 niedozwolony 0,1 niedozwolony 0,14 niedozwolony
M10 0,23 niedozwolony 0,46 niedozwolony 0,17 niedozwolony 0,23 niedozwolony
M12 0,34 niedozwolony 0,68 niedozwolony 0,24 niedozwolony 0,34 niedozwolony
M16 0,7 niedozwolony 1,4 niedozwolony 0,5 niedozwolony 0,7 niedozwolony
M20 1,2 niedozwolony 2,4 niedozwolony 0,86 niedozwolony 1,2 niedozwolony